像微软RoomAlive?亚马逊AR新专利来啦

发表日期:2015.12.08    访问人数:717

 随着近年来智能可穿戴设备及虚拟现实技术的大热,很多大品牌都跨界推出了自家的AR/VR新产品;除了Oculus Rift、三星 Gear VR、Sony PlayStation VR之外,国内外的VR头显已经不少;但是,如果你觉得这些头戴设备或是造型奇特的眼镜头就是AR(增强现实)技术的全部的话,那你可真是OUT啦!最近,亚马逊新获得的“物体追踪(object tracking )”及“反射测距(reflector-based depth mapping )”专利就是很好的例子。
 
像微软RoomAlive?亚马逊AR新专利来啦 
  亚马逊object tracking 及reflector-based depth mapping新专利(图源:engadget)
 
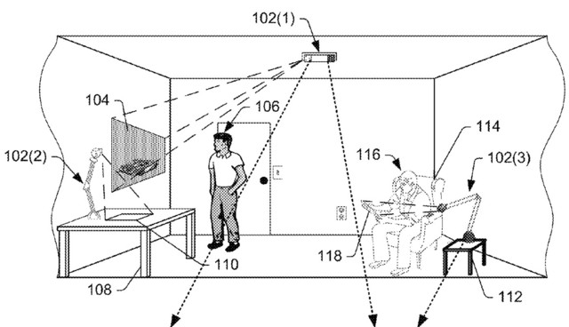
  据悉,亚马逊新获得的“物体追踪”(object tracking )及“反射测距(reflector-based depth mapping )”两个专利,前者是基于投影机和相机,能在真实物体上投射出虚拟影像,然后捕捉人手的动作以实现互动;而后者则能通过投影机将整个房间变成全息平台,测算出其中人和物体的对应距离(基本情况如下图)。
 
像微软RoomAlive?亚马逊AR新专利来啦 
 
  亚马逊object tracking 及reflector-based depth mapping新专利(图源:engadget)
 
  对于亚马逊的这个专利概念原理图,你看了会不会觉得有点似曾相识呢?因为微软之前也曾用投影机加 Kinect 距离感应器的组合,提出名为“RoomAlive (原名 IllumiRoom )”的类似概念,它所用户在房间的虚拟环境中也能进行像是射击游戏之类的互动。当然,微软如今显然把更多精力放到了 HoloLens 之上,同为 AR 产品的 RoomAlive估计是已经坑了。
 
  当然啦,亚马逊的这两项技术必然跟微软的有所不同,因为他的“反射测距”不需要“系统反覆校正”,仅要一台投影机就能搞定。据悉,亚马逊这款出自 Lab126(类似于 Google X 或是微软研究院的存在)的概念作品,暂时还无法看到实物,未来将怎样发展还需要我们一起期待!
驰创数码
致力打造互动品牌,提供精准营销服务

立即咨询

网站建设客服微信

扫一扫,添加微信咨询

免费咨询

400-602-8610

  • 地址:成都市高新区锦城大道666号奥克斯广场B座902
  • 其他咨询热线:028-86666423 028-8666413
  • 邮箱:service@chichuang.com
  • 传真:028-86666493